Vertical Indicator Post
(SKYEG-IP)
Description
Fire valves are essential components in firefighting systems, designed to control the flow of water or other firefighting agents in emergency situations. They are commonly used in fire protection systems to ensure rapid and reliable water supply for sprinkler systems, fire hydrants, and other firefighting equipment. Fire valves play a critical role in safeguarding lives and property across various industries, including commercial, industrial, and residential buildings.
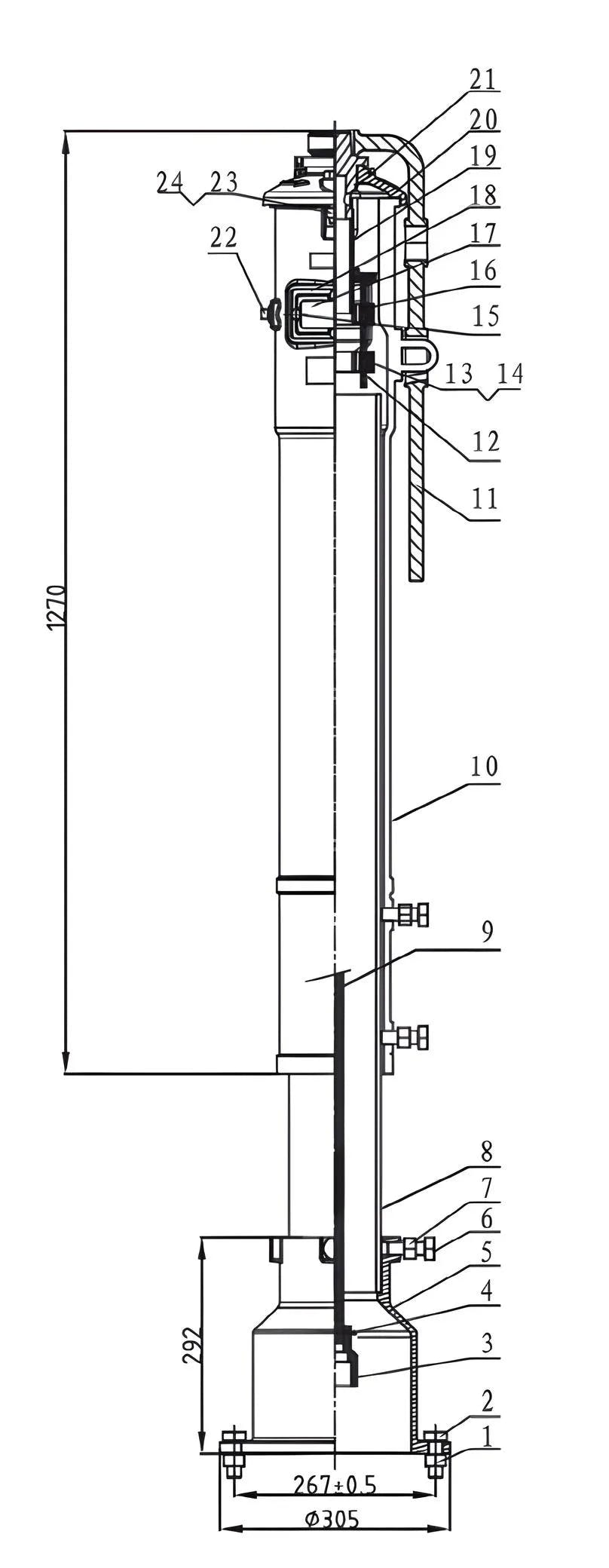
- •Statement:Vertical indicator post provides a means to operate a buried or otherwise inaccessible valve and able to indicate the open or shut position of the valve.
- •Coating:Fusion Bonded Epoxy Coating in accordance with ANSI/AWWA C550
Material Specification
|| = Other Options





















