Supervisory Switch For Os&y Gate Valve
(SKEG-WFI)
Description
Fire valves are essential components in firefighting systems, designed to control the flow of water or other firefighting agents in emergency situations. They are commonly used in fire protection systems to ensure rapid and reliable water supply for sprinkler systems, fire hydrants, and other firefighting equipment. Fire valves play a critical role in safeguarding lives and property across various industries, including commercial, industrial, and residential buildings.
- •Service Environment:Indoor or Outdoor Use, all parts have corrosion resistant finishes.
- •Temperature Range:0℃- 80℃
- •Cover Tamper:Tamper Resistant Screws Optional Cover Tamper Switch Available.
- •Electrical Ratings:15 Amps at 125/250VAC
- •Appliance Standards:NFPA-13, NFPA-13D, NFPA-13R, NFPA-72
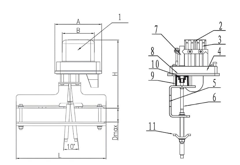
- •Statement:The Model MXHQ Supervisory Switch is used to monitor the open or close status of an OS&Y (outside screw and yoke) type gate valve. There are two sizes, the model MXHQ D50 serves the OS&Y Gate valves ranging in size from 2”-16”(50mm - 400mm), the other model MXHQ D450 is fit for the OS&Y Gate valves ranging in size from 18”- 24”(450mm - 600mm).
Material Specification
|| = Other Options
Dimensions
| DN | Dimensions (mm) | |||||
|---|---|---|---|---|---|---|
| Inch | mm | A | B | DMAX | H | L |
| 2"-16" | 50-400 | 99 | 68 | 105 | 148 | 200 |
| 18"-24" | 450-600 | 135 | 360 | |||

Typical Electrical Connections






















